神社のぼり簡易ポール


※(株)三共様より引用


神社のぼり簡易ポールは、ボルト接続式の伸縮ポールです。これは、基礎工事を必要とせず、地中に打込んだ打込杭にポールを差し込んでポールを設置します。

そのため、先にも述べた基礎工事を必要とせず常時設置せず必要な時に設置、撤去できるので

場所の有効利用が出来ます。

また、ポール本体も大変お求めやすい価格になっておりますので、季節行事にしか使わない場合等はこちらの商品も選択肢の一つかと思います。

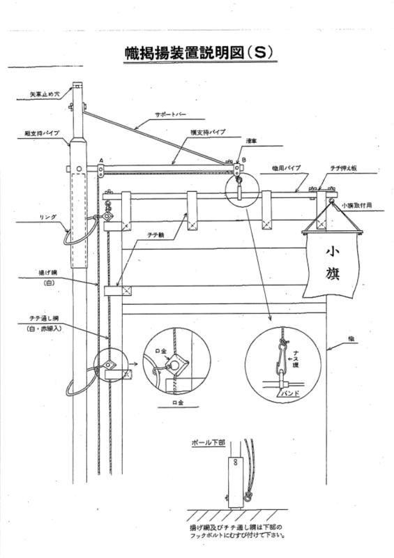
幟掲揚装置(S)

幟上部チチを通す横棒は伸縮式で幟巾70cm〜120cmまで対応可能です。

幟上部チチを通す横棒を1点で支えます。

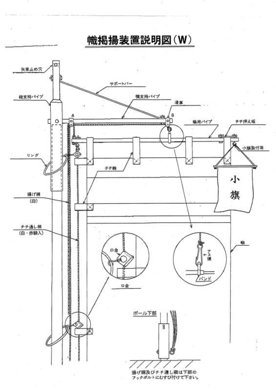
幟掲揚装置(W)

幟上部チチを通す横棒は伸縮式で幟巾70cm〜120cmまで対応可能です。

幟上部チチを通す横棒を2点で支えます。

※上記2点の支持方法のポールがあります。当社としましては、2点指示=(W)の方が安定感が増しますので2点指示形式を推奨いたします。


ポール各仕様・価格表(税抜き価格)

型番
段数
縮長
伸長
最上段外径
最下段外径
価格
SH8号
4段
2.1m
7.5m
Φ44mm
Φ60.3mm
\140,000
SH10号
5段
2.1m
9.1m
Φ44mm
Φ66.6mm
\169,000
SH12号
6段
2.1m
10.8m
Φ44mm
Φ72.9mm
\205,000
SH14号
7段
2.1m
12.3m
Φ44mm
Φ79.9mm
\250,000

◆注意事項

※当商品の現地までの運送費は別途掛かりますので、予めご了承ください。


トップへ



Copyright (C) 2015 有限会社五十嵐All Rights Reserved.
【掲載の記事・写真・イラストなどの無断複写・転載等を禁じます】